- Gratis thuisbezorgd
- 5 jaar garantie
- Een 9.1 uit 47.243 beoordelingen
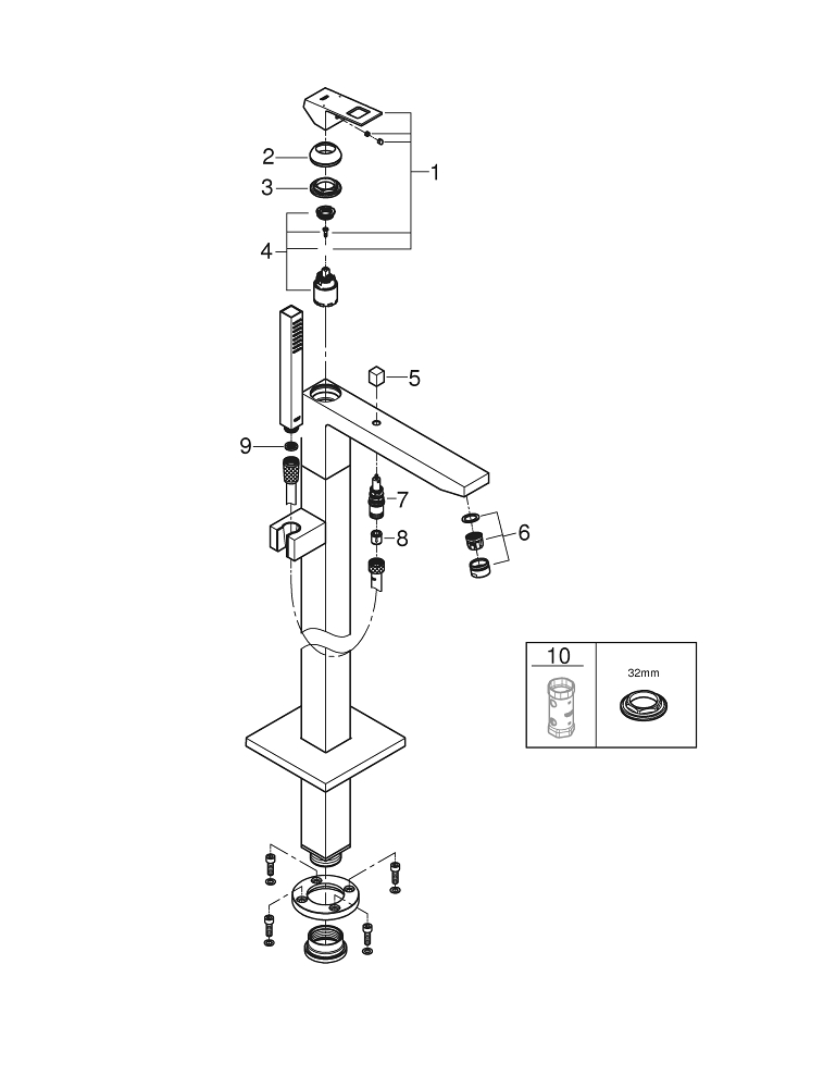
GROHE Eurocube Freestander badkraan m. omstel m. douchehouder m. handdouche en doucheslang 125cm brushed hard graphite
Alternatief product
Kies voor karakter en een stijlvol design met de GROHE Eurocube badmengkraan. Deze blikvanger in hard graphite geborsteld (mat donkergrijs) is de perfecte aanvulling voor je vrijstaand bad. De badmengkraan is voorzien van een doucheomstelling en installeer je via een vloermontage waardoor het ontwerp mooi tot zijn recht komt. De set wordt compleet geleverd inclusief een Cube + Stick handdouche en een TwistFree doucheslang. Met deze badkraan wissel je een rustgevend bad moeiteloos af met een verfrissende douche. Haren wassen in bad gaat heel gemakkelijk met de GROHE DreamSpray waarbij je geniet van een gelijkmatige spray douchestraal. En met de GROHE SilkMove cartouche regel je moeiteloos de ideale watertemperatuur om heerlijk te ontspannen. Kalk en vuil wrijf je na gebruik eenvoudig weg van de anti-kalk SpeedClean sproeigaatjes. De GROHE StarLight afwerking is slijtvast en beschermt de badmengkraan optimaal tegen krasvorming. Je installeert de badkraan op de vloer met inbouwdeel (45984001) die separaat bestelbaar is. Met de badmengkraan van GROHE Eurocube kun je elke dag genieten van een bad en douche voor een gunstige prijs.
GROHE Eurocube: voor een tijdloze en strakke stijl
De GROHE Eurocube collectie is ontworpen voor liefhebbers van een strak keuken of badkamerdesign. De keukenkranen, badkranen en douchesets van GROHE Eurocube zijn verkrijgbaar 3 stijlvolle kleuren: chroom, supersteel (RVS kleur) en hard graphite geborsteld (donkergrijs).
Hoe weet ik zeker dat het product past?
- Hoogte met gesloten hendel: 844-948 mm
- Sprong uitloop: 298 mm
GROHE SilkMove®: een kraan met stuurbekrachtiging
Je kunt de temperatuur en het volume van deze kraan in één beweging instellen: dankzij het hoogwaardige binnenwerk van de kraan is de hendel licht te bedienen – ook na jaren intensief gebruik.
GROHE StarLight - duurzaam en gemakkelijk te reinigen
De GROHE StarLight afwerking is het resultaat van 75 jaar ervaring en aandacht voor detail: de ultra gladde afwerking is extra krasbestendig en gemakkelijk te reinigen. Veeg het oppervlak met een droge doek en het lijkt weer net als nieuw.
GROHE DreamSpray®: voor een volle douchestraal en een gelijkmatige waterverdeling over alle sproeigaatjes
Met de GROHE DreamSpray® technologie wordt je dagelijkse douchebeurt een Spa-beleving. Deze techniek zorgt altijd voor een gelijkmatige waterverdeling over alle sproeigaatjes. Bij alle straalsoorten en bij welke handdouche je ook kiest.
GROHE EcoJoy® voor een milieuvriendelijke douche
GROHE EcoJoy® biedt alle comfort die je van een GROHE douche zou verwachten, terwijl je tot wel 40% op je waterverbruik bespaart. Deze waterbesparende technologie heeft niet alleen een positieve impact op het milieu, maar ook op je portemonnee.
De klassieker: de standaard douchestraal, krachtige en verfrissend
Deze douchestraal van GROHE is een klassieker en is de standaard op basis waarvan andere straaltypen zijn afgeleid. Krachtig en verfrissend voopr elk moment van de dag!
SpeedClean houdt je douche kalkvrij
Dankzij SpeedClean is kalk verleden tijd. De douchekop is voorzien van siliconen sproeigaatjes waarmee je kalkaanslag met een beweging van je vinger weg veegt.
Inner WaterGuide: prettig in de hand te houden en beschermend voor de chroomlaag
Door de interne isolatie blijft de douchekop comfortabel warm en wordt nooit te heet. De douche is altijd goed in de hand te houden. Bovendien wordt zo de chroomlaag beschermd en is zijn lange levensduur gegarandeerd.
TwistFree – je doucheslang volgt elke beweging die je maakt
Zoals alles van GROHE zijn ook de GROHE TwistFree doucheslangen op de praktijk gebaseerd. Iedereen heeft wel eens met de doucheslang geworsteld als die weer eens gedraaid zat. Met TwistFree van GROHE is dat voor eens en altijd verleden tijd. De slang draait automatisch mee door een toepassing in de aansluiting van de slang op de handdouche. Dus nooit meer een geknikte- of verdraaide slang.
| Artikelnummer | SW523642 | |
| Leveranciernummer | 23672AL1 | |
| EAN | 4005176585555 | |
| Merk | Grohe | |
| Serie | Eurocube |
Technische informatie
| Hoogte | 99 cm | |
| Montage | staand | |
| Voorsprong uitloop | 29.8 cm | |
| Plaats uitlaat | Naar beneden | |
| Aansluiting aanvoer | 1/2 | |
| Afsluitmechanisme | cartouche keramisch | |
| Hoogte kraan | Hoog |
Productinformatie
Features
Meer informatie
| Garantie | 5 jaar |
![]() |
Denk je aan een kranenmerk? Dan denk je waarschijnlijk aan GROHE. Dit van oorsprong Duitse merk is toonaangevend in de badkamerwereld. Het assortiment van GROHE is zeer breed en voor iedere prijsklasse geschikt. Hun kernwaarden zijn kwaliteit, technologie, design en duurzaamheid. En deze waarden vind je bij elk GROHE-product terug. Lees hier meer over Grohe! |
Garantie van GROHE
Hoogwaardige materialen, de nieuwste productiemethoden in combinatie met toonaangevende technologieën garanderen betrouwbare prestaties voor vele jaren. Dit wordt weerspiegeld in de 5 jaar fabrieksgarantie. GROHE maakt de belofte waar dat je topprestaties van ze mag verwachten. Geniet van uniek comfort en uitstekende functionaliteiten. Je hebt hun woord dat je kan vertrouwen op GROHE producten. Gegarandeerd.
Bezorgen
In de winkelwagen zie je de verwachte leverdatum van de totale bestelling. Kies zelf een bezorgdag.
Gratis afhalen in showroom
Het is mogelijk om dit product gratis af te halen in één van onze showrooms. Bekijk hieronder een indicatie van de afhaaldatum per showroom. Rond de bestelling online af en geef in het bestelproces aan in welke showroom je jouw bestelling wenst af te halen.Is dit artikel een showroommodel? Dan kun je deze maximaal 1 dag reserveren en alleen betalen in de betreffende showroom.
| Alkmaar | Bestel en haal af vanaf 13-06-2026 |
|---|---|
| Amsterdam Amstel | Bestel en haal af vanaf 19-06-2026 |
| Amsterdam West | Bestel en haal af vanaf 13-06-2026 |
| Arnhem | Bestel en haal af vanaf 13-06-2026 |
| Breda | Bestel en haal af vanaf 13-06-2026 |
| Eindhoven | Bestel en haal af vanaf 13-06-2026 |
| Heerlen | Bestel en haal af vanaf 13-06-2026 |
| Middelburg | Bestel en haal af vanaf 20-06-2026 |
| Nieuwegein | Bestel en haal af vanaf 19-06-2026 |
| Rosmalen | Bestel en haal af vanaf 13-06-2026 |
| Rotterdam | Bestel en haal af vanaf 13-06-2026 |
| Tilburg | Bestel en haal af vanaf 13-06-2026 |
| Wateringen | Bestel en haal af vanaf 19-06-2026 |
Gratis retourneren in onze showrooms
Toch niet helemaal tevreden over dit product? Geen zorgen! Je kunt het ontvangen product (m.u.v. tegels) retour sturen binnen 30 dagen na ontvangst.
Alle betalingen ontvang je terug op dezelfde wijze waarop je hebt betaald, in ieder geval binnen 14 dagen vanaf de retourdatum.
